Ми на зв'язку пн-пт: 10:00 - 18:00

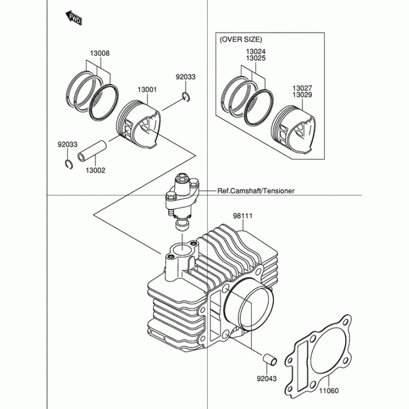
Схема вузла: Циліндр & Поршень для Suzuki DR-Z110

Виробники Suzuki
Код товару: DR-Z110K3(E28) K3
76грн.
Під замовлення
Деталізація вузла Циліндр & Поршень для Suzuki DR-Z110.

Деталі поставляються під замовлення, у відповідності з умовами поставки оригінальних запчастин.

Всі деталі оригінальні, їх сумісність з мотоциклом гарантована виробником у випадку правильної ідентифікації моделі та року випуску, та відсутності попередньої модифікації вузла власником.

Написати відгук
Примітка: HTML розмітка не підтримується! Використовуйте звичайний текст.

Немає відгуків про цей товар.

Model Наіменування Amount Кількість Доступність
11060 K1106-10124 Прокладка опоры цилиндра 0грн.
Недоступно до замовлення
11060 K1106-01796 Прокладка опоры цилиндра 0грн.
Недоступно до замовлення
13001 K1300-11512 Поршень двигателя,STD 0грн.
Недоступно до замовлення
13001 K1300-10754 PISTON-ENGINE,STD 0грн.
Недоступно до замовлення
13002 K1300-21123 Палец поршня 0грн.
Недоступно до замовлення
13002 K1300-20031 PIN,PISTON 0грн.
Недоступно до замовлення
13008 K1300-81189 Комплект колец ,STD 0грн.
Недоступно до замовлення
13024 K1302-41119 RING-SET-PISTON LL,O/S 1.00 0грн.
Недоступно до замовлення
13025 K1302-51148 Комплект колец O/S 0.50 0грн.
Недоступно до замовлення
13027 K1302-71198 PISTON-ENGINE LL,O/S 1.00 0грн.
Недоступно до замовлення
13029 K1302-91255 Поршень двигателя L,O/S 0.50 0грн.
Недоступно до замовлення
13029 K1302-90030 PISTON-ENGINE L,O/S 0.50 0грн.
Недоступно до замовлення
92033 K9203-31072 Кольцо-защелка 95грн.
Під замовлення
92043 K9204-31264 Штифт,8.2X10X14 78грн.
Під замовлення
98111 K9811-11083 CYLINDER-COMP-ENGINE 0грн.
Недоступно до замовлення