Ми на зв'язку пн-пт: 10:00 - 18:00

DL1000 V-Strom (DL1000K3(E2))


Деталізація вузла Інформаційні наклейки для Suzuki DL1000 V-Strom. Деталі поставляються під замовлен..
268грн.
немає відгуків
Деталізація вузла Акумулятор для Suzuki DL1000 V-Strom. Деталі поставляються під замовлення, у відпо..
1050грн.
немає відгуків
Деталізація вузла Бічні панелі для Suzuki DL1000 V-Strom. Деталі поставляються під замовлення, у від..
2279грн.
немає відгуків
Деталізація вузла Багажник для Suzuki DL1000 V-Strom. Деталі поставляються під замовлення, у відпові..
11062грн.
немає відгуків
Деталізація вузла Важіль прогресії для Suzuki DL1000 V-Strom. Деталі поставляються під замовлення, у..
37809грн.
немає відгуків
Деталізація вузла Вихлопна система для Suzuki DL1000 V-Strom. Деталі поставляються під замовлення, у..
29203грн.
немає відгуків
Деталізація вузла Водяний насос Suzuki DL1000 V-Strom. Деталі поставляються під замовлення, у відпов..
1720грн.
немає відгуків
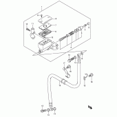
Деталізація вузла Головний циліндр зчеплення для Suzuki DL1000 V-Strom. Деталі поставляються під зам..
8382грн.
немає відгуків
Деталізація вузла Довідкова інформація для Suzuki DL1000 V-Strom. Деталі поставляються під замовленн..
0грн.
немає відгуків
Деталізація вузла Довідкова інформація для Suzuki DL1000 V-Strom. Деталі поставляються під замовленн..
0грн.
немає відгуків
Деталізація вузла Дросельна заслінка для Suzuki DL1000 V-Strom. Деталі поставляються під замовлення,..
36137грн.
немає відгуків
Деталізація вузла Електричний стартер для Suzuki DL1000 V-Strom. Деталі поставляються під замовлення..
9047грн.
немає відгуків
Деталізація вузла Електропроводка (Model k2) для Suzuki DL1000 V-Strom. Деталі поставляються під зам..
12111грн.
немає відгуків
Деталізація вузла Електропроводка (Model k3) для Suzuki DL1000 V-Strom. Деталі поставляються під зам..
12111грн.
немає відгуків
Деталізація вузла Електропроводка (Model k4/k5/k6) для Suzuki DL1000 V-Strom. Деталі поставляються п..
13682грн.
немає відгуків
Деталізація вузла Електроустаткування для Suzuki DL1000 V-Strom. Деталі поставляються під замовлення..
5862грн.
немає відгуків
Деталізація вузла Заднє колесо Suzuki DL1000 V-Strom. Деталі поставляються під замовлення, у відпові..
32513грн.
немає відгуків
Деталізація вузла Заднє крило Suzuki DL1000 V-Strom. Деталі поставляються під замовлення, у відповід..
2262грн.
немає відгуків
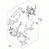
Деталізація вузла Задній важіль підвіски Suzuki DL1000 V-Strom. Деталі поставляються під замовлення,..
33767грн.
немає відгуків
Деталізація вузла Задній гальмівний супорт для Suzuki DL1000 V-Strom. Деталі поставляються під замов..
6887грн.
немає відгуків
Показано з 1 до 20 з 93 (5 сторінок)