Ми на зв'язку пн-пт: 10:00 - 18:00

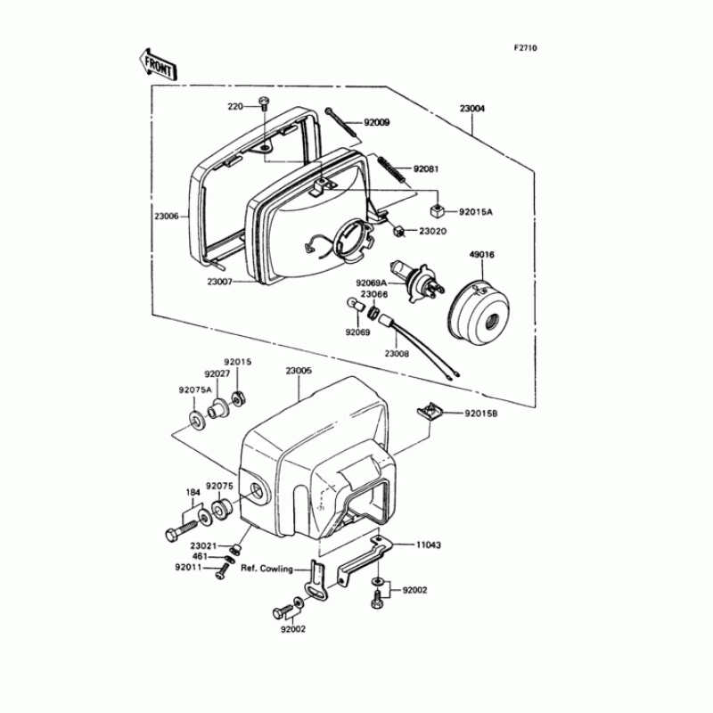
Схема вузла: Headlight(s) для Kawasaki ZX400 Z400FII

Виробники Kawasaki
Код товару: ZX400-C5
1001грн.
Під замовлення
Деталізація вузла Headlight(s) для Kawasaki ZX400 Z400FII.

Деталі поставляються під замовлення, у відповідності з умовами поставки оригінальних запчастин.

Всі деталі оригінальні, їх сумісність з мотоциклом гарантована виробником за умови правильної ідентифікації моделі, року випуску та відсутності попередньої модифікації вузла власником.

Написати відгук
Примітка: HTML розмітка не підтримується! Використовуйте звичайний текст.

Немає відгуків про цей товар.

Model Наіменування Amount Кількість Доступність
11043 11043-1640 Кронштейн фонаря 0грн.
Недоступно до замовлення
184 184C0835 BOLT-UPSET-WP-SMALL 0грн.
Недоступно до замовлення
220 220AA0510 SCREW-PAN-CROSS,5X10 51грн.
Під замовлення
220 220B0510 Винт 58грн.
Під замовлення
23004 23004-1111 Лампочка - головка 0грн.
Недоступно до замовлення
23005 23005-1051-6Z BODY-COMP-HEAD LAMP,B 0грн.
Недоступно до замовлення
23006 23006-1021 Обод 0грн.
Недоступно до замовлення
23006 23006-1022 RIM-LAMP 0грн.
Недоступно до замовлення
23007 23007-1051 LENS-COMP,"001-2722"M 0грн.
Недоступно до замовлення
23008 23008038 SOCKET,PARKING LAMP 269грн.
Під замовлення
23020 23020018 Гайка,4MM 112грн.
Під замовлення
23021 23021010 Шайба 108грн.
Під замовлення
23066 23066008 Дэмпфер 115грн.
Під замовлення
461 461F0500 Шайба пружины,5MM 58грн.
Під замовлення
461 461DA0500 Шайба пружины 51грн.
Під замовлення
49016 49016-1046 Крышка лампы, уплотнительная 317грн.
Під замовлення
92002 186AA0614 BOLT-UPSET-WP 65грн.
Під замовлення
92002 92002-1260 Болт 6X14 0грн.
Недоступно до замовлення
92009 92009-1033 SCREW,FOCUS ADJU.4X52 119грн.
Під замовлення
92011 92009-1947 Винт,5MM 72грн.
Під замовлення
92011 92011-024 SCREW,5MM 115грн.
Під замовлення
92015 92015-1014 Гайка,8MM 97грн.
Під замовлення
92015 92015-1231 NUT-6MM,HEAD LAMP 210грн.
Під замовлення
92015 92015-1157 Гайка,5MM 108грн.
Під замовлення
92027 92027-1131 COLLAR,HEAD LAMP FITT 194грн.
Під замовлення
92069 92069-071 BULB,12V 4W 119грн.
Під замовлення
92069 92069-1002 BULB,12V 60/55W,H4 1001грн.
Під замовлення
92069 92069-0050 バルブ 1001грн.
Під замовлення
92075 92075-1110 Дэмпфер 112грн.
Під замовлення
92075 92075-1109 Дэмпфер 124грн.
Під замовлення
92081 92081-1103 Пружина 108грн.
Під замовлення