Ми на зв'язку пн-пт: 10:00 - 18:00

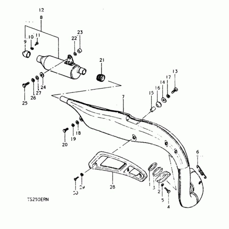
Схема вузла: Вихлопна система для Suzuki TS250

Виробники Suzuki
Код товару: TS250ERN N
15496грн.
Під замовлення
Деталізація вузла Вихлопна система для Suzuki TS250.

Деталі поставляються під замовлення, у відповідності з умовами поставки оригінальних запчастин.

Всі деталі оригінальні, їх сумісність з мотоциклом гарантована виробником у випадку правильної ідентифікації моделі та року випуску, та відсутності попередньої модифікації вузла власником.

Написати відгук
Примітка: HTML розмітка не підтримується! Використовуйте звичайний текст.

Немає відгуків про цей товар.

Model Наіменування Amount Кількість Доступність
1 14181-30080 Прокладка трубы 0грн.
Недоступно до замовлення
11 02112-06088 Болт 0грн.
Недоступно до замовлення
11 02112-06087 Винт крестовый 6x8 56грн.
Під замовлення
13 01500-08307 Болт 0грн.
Недоступно до замовлення
13 01107-08308 Болт 0грн.
Недоступно до замовлення
14 08322-21088 Шайба 0грн.
Недоступно до замовлення
14 08322-01087 Шайба 56грн.
Під замовлення
15 09180-08302 Прокладка 81грн.
Під замовлення
15 09180-08048 Spacer (8*12*15) 0грн.
Недоступно до замовлення
16 14772-30500 DAMPER,MUFFLER,FR 91грн.
Під замовлення
17 08321-21088 Пластина замка 0грн.
Недоступно до замовлення
17 08321-01087 Пластина замка 56грн.
Під замовлення
2 14182-30000 Clamp,ex. pipe 0грн.
Недоступно до замовлення
20 01500-0816B Заглушка дренажная 56грн.
Під замовлення
20 01107-08168 Болт 0грн.
Недоступно до замовлення
21 14771-43D00 Коннектор 534грн.
Під замовлення
21 14771-30900 Коннектор 0грн.
Недоступно до замовлення
22 09160-08134 Шайба 58грн.
Під замовлення
22 09160-08005 Шайба 0грн.
Недоступно до замовлення
23 09180-08201 SPACER(8.5X14X10.6) 71грн.
Під замовлення
23 09180-08083 Кольцо/шайба 0грн.
Недоступно до замовлення
24 09320-14006 CUSHION 163грн.
Під замовлення
25 01500-08257 Болт 58грн.
Під замовлення
25 01107-08258 Болт 0грн.
Недоступно до замовлення
28 14781-30900 Крышка глушителя 0грн.
Недоступно до замовлення
3 14184-30020 WASHER,EXHAUST PIPE 102грн.
Під замовлення
3 14184-30010 Gasket,ex. pipe 0грн.
Недоступно до замовлення
4 01500-06257 Болт 56грн.
Під замовлення
4 01107-06258 Болт 0грн.
Недоступно до замовлення
5 08321-21068 Пластина замка 0грн.
Недоступно до замовлення
5 08321-01067 Шайба, стопорная 56грн.
Під замовлення
6 09443-11002 ПРУЖИНА 94грн.
Під замовлення
7 14310-30911 Muffler assy, 1 15644грн.
Під замовлення
7 NOTUSED Not used 0грн.
Недоступно до замовлення
8 14303-30900 Muffler, 2nd 0грн.
Недоступно до замовлення
9 14817-30900 Cotter, tail 0грн.
Недоступно до замовлення