Мы на связи пн-пт: 10:00 - 18:00

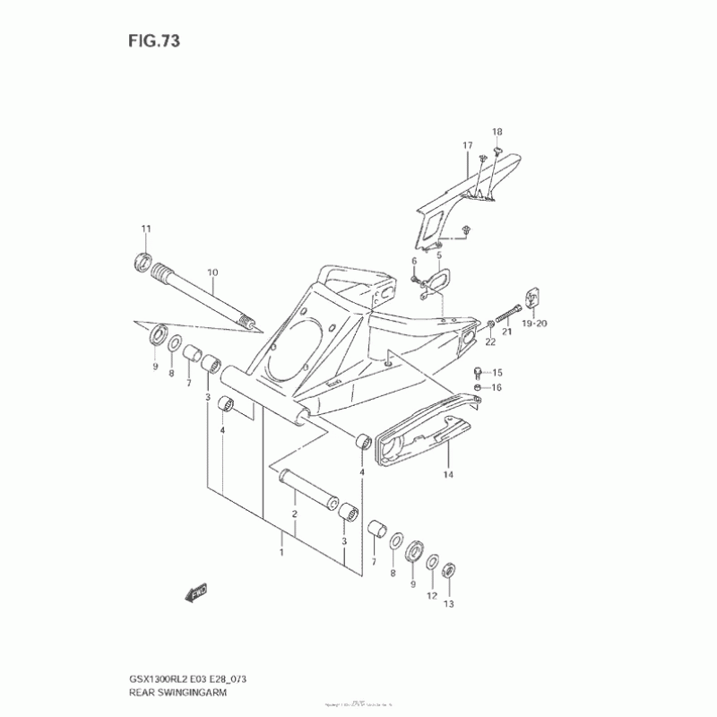
Схема узла: Задний рычаг (Маятник) для Suzuki GSX1300 Hayabusa

Производители Suzuki
Код Товара: GSX1300RL2
1434грн.
Под заказ
Детализация узла Задний рычаг (Маятник) для Suzuki GSX1300 Hayabusa.

Детали поставляются под заказ в соответствии с условиями поставки оригинальных запчастей.

Все детали оригальные, их совместимость гарантирована производителем при условии правильной идентификации модели, года выпуска и отсутсвия предварительной модификации узла владельцем мотоцикла.

Написать отзыв
Примечание: HTML разметка не поддерживается! Используйте обычный текст.

Нет отзывов об этом товаре.

Модель Наименование Сумма Кол-во Доступность
1 61000-24F41-YAP SWINGINGARM ASSY 0грн.
Недоступно к заказу
10 61211-16G00 SHAFT,RR SWINGINGARM PIVOT 0грн.
Недоступно к заказу
11 61214-40C31 NUT,RR SWGARM PIVOT BOLT 589грн.
Под заказ
12 09160-25070 Шайба 91грн.
Под заказ
13 09159-25003 Гайка 745грн.
Под заказ
14 61273-15H01 Buffer,chain 0грн.
Недоступно к заказу
14 61273-15H00 BUFFER,CHAIN TOUCH DEFENSE 862грн.
Под заказ
15 09116-06152 BOLT(6X20) 71грн.
Под заказ
16 09180-06306 SPACER(6.5X9X5) 67грн.
Под заказ
17 61311-15H00 Корпус натяжения 0грн.
Недоступно к заказу
18 09139-06168 БОЛТ 81грн.
Под заказ
19 61446-40F00 НАТЯЖИТЕЛЬ ЦЕПИ 1066грн.
Под заказ
2 61281-33E20 SPACER,RR SWGARM PIVOT CTR 0грн.
Недоступно к заказу
20 61445-40F20 Adjuster, chain rh 567грн.
Под заказ
20 61445-40F00 ADJUSTER,CHAIN 0грн.
Недоступно к заказу
21 09100-08287 BOLT(8X50) 74грн.
Под заказ
22 08316-1008A Гайка вала 56грн.
Под заказ
3 09263-30040 Подшипник (30x40x25) 553грн.
Под заказ
4 09263-17053 Bearing 328грн.
Под заказ
4 09263-17037 ПОДШИПНИК 362грн.
Под заказ
5 61124-33E00 PLATE,RR SWING ARM BRKT 105грн.
Под заказ
6 09125-06073 Болт 64грн.
Под заказ
7 61251-17E20 SPACER, RR PIVOT BEARING 0грн.
Недоступно к заказу
8 08211-25481 Шайба упорная 84грн.
Под заказ
9 61262-17E11 Seal,dust 0грн.
Недоступно к заказу
9 61262-17E10 Уплотнение 0грн.
Недоступно к заказу