Мы на связи пн-пт: 10:00 - 18:00

VN1500 VN-15 SE (VN1500-B6)


Детализация узла Масляный насос для Kawasaki VN1500 VN-15 SE. Детали поставляются под заказ в соотве..
7985грн.
Нет отзывов
Детализация узла Передний тормозной цилиндр для Kawasaki VN1500 VN-15 SE. Детали поставляются под за..
9711грн.
Нет отзывов
Детализация узла Переключатель передач для Kawasaki VN1500 VN-15 SE. Детали поставляются под заказ в..
3081грн.
Нет отзывов
Детализация узла Подвеска/амортизатор для Kawasaki VN1500 VN-15 SE. Детали поставляются под заказ в ..
317грн.
Нет отзывов
Детализация узла Подставка для Kawasaki VN1500 VN-15 SE. Детали поставляются под заказ в соответстви..
3444грн.
Нет отзывов
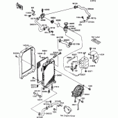
Детализация узла Радиатор (1/2) для Kawasaki VN1500 VN-15 SE. Детали поставляются под заказ в соотве..
26727грн.
Нет отзывов
Детализация узла Рама для Kawasaki VN1500 VN-15 SE. Детали поставляются под заказ в соответствии с у..
815грн.
Нет отзывов
Детализация узла Распредвал & Цепь ГРМ & Натяжитель для Kawasaki VN1500 VN-15 SE. Детали поставляютс..
15212грн.
Нет отзывов
Детализация узла Руль & Пульт управления рулевой для Kawasaki VN1500 VN-15 SE. Детали поставляются п..
7214грн.
Нет отзывов
Детализация узла Сиденье для Kawasaki VN1500 VN-15 SE. Детали поставляются под заказ в соответствии ..
108грн.
Нет отзывов
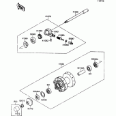
Детализация узла Ступица заднего колеса для Kawasaki VN1500 VN-15 SE. Детали поставляются под заказ ..
39070грн.
Нет отзывов
Детализация узла Ступица переднего колеса для Kawasaki VN1500 VN-15 SE. Детали поставляются под зака..
1969грн.
Нет отзывов
Детализация узла Сцепление для Kawasaki VN1500 VN-15 SE. Детали поставляются под заказ в соответстви..
7598грн.
Нет отзывов
Детализация узла Топливный бак для Kawasaki VN1500 VN-15 SE. Детали поставляются под заказ в соответ..
3533грн.
Нет отзывов
Детализация узла Трансмиссия для Kawasaki VN1500 VN-15 SE. Детали поставляются под заказ в соответст..
7773грн.
Нет отзывов
Детализация узла Цилиндр & Поршень для Kawasaki VN1500 VN-15 SE. Детали поставляются под заказ в соо..
2198грн.
Нет отзывов
Детализация узла Шина для Kawasaki VN1500 VN-15 SE. Детали поставляются под заказ в соответствии с у..
328грн.
Нет отзывов
Показано с 41 по 57 из 57 (всего 3 страниц)